深圳市绿健新能源有限公司
产品规格书
SPECIFICATION FOR PRODUCTION
产品名称 | 聚合物锂离子电池 |
产品型号 | PL602030 |
产品规格 | A级 |
标称容量 | 300mAh |
拟订: | |
批准: |
客户名称 | |
审核: | |
批准: |
地址:深圳市龙岗区宝龙街道同德同社浪背村一号国鑫投产业园C栋301
电话: 13590105903
1、应用范围:
本规格书适用于深圳市绿健新能源有限公司生产的聚合物锂离子电池。同时本规格书提供的产品符合:国标GB/T18287-2000的各项要求。
2、产品类型:
2.1 类型名称:可充电聚合物锂离子电池
2.2 规格: PL602030
3、基本相关参数:
序号 | 项 目 | 单位 | 参数要求 | 备注说明 | |
1 | 典型容量 | mAh | 310 | 电池按标准充电后,再标准放电所得的容量。 | |
2 | 最小容量 | mAh | 290 | 电池按标准充电后,再标准放电所得的容量。 | |
3 | 标称电压 | V | 3.7 | 按标准充电后,再标准放电,放电过程的平均电压。 | |
4 | 充电方式 | 恒流恒压 | |||
5 | 充电上限电压 | V | 4.2 | ||
6 | 放电终止电压 | V | 3.0 | ||
7 | 最大连续充电电流 | mA | 1.0 CA | ||
8 | 最大连续放电电流 | mA | 1.0 CA | ||
9 | 单体电池粒重量 | g | |||
10 | 内阻 | mΩ | ≤100 | ||
11 | 电芯最大尺寸(厚*宽*高) | mm | 6.0*20.5*30.5 | ||
12 | 运输电压要求 | V | 3.85~4.05 | ||
13 | 出货电压要求 | V | 3.85~4.05 | ||
14 | 工作温度 | 充电 | ℃ | 0~45 | |
放电 | ℃ | -20~60 | |||
15 | 储存温度 | ℃ | -5~45 | ||
16 | 储存湿度 | RH | ≤85% | ||
4、外观:
电池表面不能有严重外观缺陷,不影响正常使用。
5、技术要求:
5.1测试条件(除非特别要求,各项试验应在标准大气压条件下进行)
温度:(25±5)℃
相对湿度:(65±20)%
大气压力:(96±10)kpa
5.2标准充电: 在环境温度(25±5)℃的条件下,对电池以0.2 CA恒流充电至上限电压后再恒压充电,直至电流小于0.02CA。
5.3标准放电: 在(25±5)℃的环境下,以0.2 CA的电流放电至3.0V所测的容量
6、电化学性能:
序号 | 项目 | 测试方法 | 技术要求 |
1 | 额定容量 | 按5.2充电结束后,搁置10min,在25℃±5℃环境下,以0.2 CA恒流放电至终止电压。
| 其放电时间≥5h |
2 | 大电流放电性能 | 按5.2充电结束后,搁置10min,在25℃±5℃环境下,以1.5 CA恒流放电至终止电压。 | 外观无明显变形、爆裂; |
3 | 循环性能 | 按5.2充电结束后,搁置10min,然后以0.5CA放电至终止电压为1个循环。200次循环停止。
| 其最终容量≥80% |
4 | 荷电保持 | 按5.2充电结束后,在25℃±5℃的环境下,储存28天,再以0.2 CA电流恒流放电至终止电压。测量其放电容量。 | 其最终放电容量≥85% |
| 高温放电 | 按5.2充电结束后,在55℃±2℃的高温箱中恒温搁置2h,然后以1 CA恒流放电至终止电压,测量放电时间;结束后将电池在25℃±5℃环境温度下搁置2h,目测外观。 | 外观无明显变形、爆裂; 放电容量≥90% |
6 | 低温放电 | 按5.2充电结束后,在-20℃±2℃的低温箱中恒温搁置16h~24h,然后0.2 CA恒流放电至终止电压,测量放电时间,结束将电池在25℃±5℃环境温度下搁置2h,目测外观 | 外观无明显变形、爆裂, 放电容量≥60% |
7、安全和环境适应性能测试:
序号 | 项目 | 测试方法 | 技术要求 |
1 | 振动 | 按5.2充电结束后,将电池安装或通过夹具安装在振动台上,调整好振动频率及对应的振幅,沿X、Y、Z三个相互垂直的方向以10HZ~55HZ振动频率;振动电流I:60%;振动时间T:30min; | 不起火、不漏液。 无明显损伤或爆炸 |
2 | 跌落 | 在电池标准充电状态下,电池高度由1.0m的位置跌落到20mm厚的硬木板上,从X、Y、Z正负方向(六个方向)每个方向自由跌落1次。 | 不起火、不漏液。 无破裂或爆炸 |
3 | 短路 | 按标准充电后,搁置24h,短路正、负极(线路总电阻≤50mΩ) 监视温度变化,当温度下降到比峰值低10℃时,结束实验,检查电池外观、温度。 | 不起火、不爆炸. 外部温度≤150℃ |
4 | 热冲击 | 电池在标准充电后,搁置24h,置于热箱中,温度5℃±2℃的速率升至130℃±2℃并保温30min,检查外观。 | 不起火、不爆炸 |
5 | 过充 | 电池标准充电后,以3 CA电流对电池进行充电,当电压达到4.8V时转为恒压充电,直到充电电流降到10mA。检查外观。 | 不起火、不爆炸 |
6 | 恒定湿热 | 电池按标准充电后,在40℃±2℃、相对湿度90%~95%的恒温恒湿箱中搁置48h后,拿出放在25℃±5℃环境温度下搁置2h,目测外观;然后恒流1 CA放电至终止电压。 | 外观无明显变形、冒烟或爆炸,放电时间≥36min |
7 | 针刺 | 电池按标准充满电后,用Ø2.5mm~5mm的钢针快速刺穿电池的纵心轴;钉子在电池内停留6h | 不起火、不爆炸 |
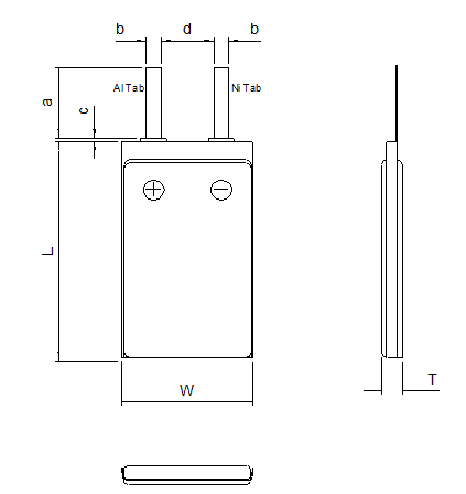
8、PL602030电池尺寸图 (单位:mm)

项目 | 技术要求 |
厚度(T) | 6.0(max)mm |
宽度(W) | 20.5(max)mm |
高度(L) | 30.5(max)mm |
线号 | |
出线方式 | |
保护板类型 | |
出线长(W1) | |
说明:未标注的客户提供的样板为准。